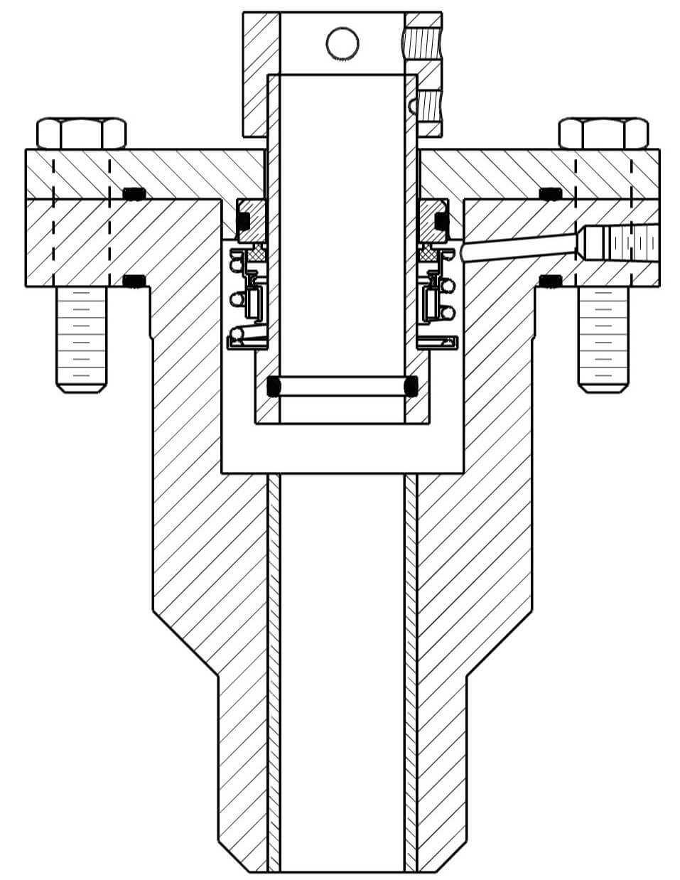
Component Mechanical Seal Assemblies

Product image

SIMFLO offers a wide range of component mechanical seals designed to prevent leakage between the pump shaft and housing. Built for durability and reliable performance, our seals are available in various materials and configurations to suit industrial, agricultural, municipal, and commercial applications—for long-lasting protection and easy maintenance in demanding environments.

RELATED PAGES

Packing Gland Seal Assemblies
Cartridge Mechanical Seal Assemblies
Discharge Heads

STOCK FEATURES AND BENEFITS

  • Available for open or enclosed lineshaft configurations options

  • Various sizes available

  • Meets AWWA E103 standards

  • NSF/ANSI/CAN 61 and NSF/ANSI 372 Certification (upon request)

Ess / Esn Curve Catalogs

NEW PRODUCT VERTICAL TURBINE PUMP CURVES - 880 RPM

NEW PRODUCT VERTICAL TURBINE PUMP CURVES – 1160 RPM

NEW PRODUCT VERTICAL TURBINE PUMP CURVES – 1770 RPM

Mixed / Axial Flow Curve Catalogs

Vertical Turbine Pump Curve Catalogs

Performance Curves

General

Shaft Elongation

Friction Loss

General

Horsepower Limits

Shaft Elongation

Engineering Data

Enclosed Lineshaft

Ess / Esn

Product Lubricated

Enclosed Lineshaft

Product Lubricated

Cross-Sectional Diagrams

Bowl Dimensions

Vertical Turbine Lineshaft Discharge Head Accessory Dimensions

Vertical Turbine Lineshaft Discharge Head Dimensions

Vertical Turbine Submersible Discharge Head Dimensions

Dimensional Data

Specifications

Discontinued Information

Product Information

Installation Operation Manuals

Terms & Conditions Warranty

Troubleshooting & Startup

Am I better off utilizing a line shaft type or submersible type vertical turbine motor?

To some extent, it is a matter of preference though there are some distinct advantages for either configuration. A lineshaft’s motor is easily accessible for replacement while a submersible motor will require the entire pump setting to be removed to be replaced.  A lineshaft motor allows the use of a diesel engine to drive the system while a submersible motor does not. A submersible motor has no maintenance requirements, while it is essential to replace the grease and/or oil for bearing lubrication on a lineshaft motor regularly. A submersible motor does not require a lineshaft or bearings which adds another complexity to a lineshaft setting. A submersible configuration makes less noise and is less visible for high profile locations. The installation process for a submersible motor is simpler.

 

In a pressure boosting application, how does a vertical turbine pump compare to a split case pump?

In many applications, both will do the job but there are clear distinctions and costs or benefits to be aware of. When pulling from a below ground sump, a vertical turbine pump may be a better choice as both require a flooded suction. A vertical turbine pump is designed to set into the sump while a split case pump may require a basement type installation to be below the fluid level in the sump, making it susceptible to flooding risks. Where ease of maintenance is concerned, a split pump case is often easier to access while a vertical turbine pump will require a crane or lifting device.  Vertical turbine pump configurations can include low NPSH impellers, so they are often better suited for applications that require a lower NPSH.

 

Am I better off using a mechanical seal or a packed box?

There are benefits and costs to each. Mechanical seals tend to be more expensive than packing boxes and are more susceptible to damage with excessive vibration.  However, mechanical seals, when running properly, do not leak while packed boxes require a small amount of leakage which can lead to a messy area. Packing boxes require some adjustments over time while a mechanical seal does not require maintenance other than replacement due to normal wear and tear. Replacing a packing box is a simple process, while replacing and setting a mechanical seal is more difficult and may require a trained technician.

 

For shaft bearings, is water lubrication or oil lubrication a better option?

Generally, water lubrication is preferred except in certain conditions.  For example, if the static water level is greater than 50’ and a good clean water source is not available for pre-lubricating the water lubricated bearings, oil lubrication is required. Additionally, oil lubrication is necessary if the static water level is very deep, making pre-lubrication a poor choice. Lastly, if abrasives are expected and a need to isolate the lineshaft and lineshaft bearings from pumped fluid exists, oil lubrication is a must.

 

How do I determine the right size pump for my system?

The size of the pump depends on factors like the flow rate required, the height the liquid needs to be lifted, and the type of liquid being pumped. Our team can help you calculate the right pump size based on your specific application.

 

What is the typical lifespan of a vertical turbine pump?

With proper maintenance, vertical turbine pumps can last anywhere from 15 to 30 years. Regular checks on the shaft, bearings, seals and impellers are important to ensure maximum longevity.

 

Does SIMFLO offer Build America, Buy America (BABA) compliant products?

Yes! SIMFLO is proud to support U. S. manufacturing by offering a selection of products that meet Build America, Buy America standards. However, not all of our products are BABA compliant. BABA compliant product availability may vary depending on your specific needs. We are committed to helping strengthen local supply chains and contribute to American job growth while delivering high quality, reliable solutions. If you require BABA compliant equipment, please let us know.

Frequently Asked Questions